
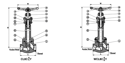
標準材質細表
序號 |
零件名稱 |
CStoASTM |
AStoASTM |
SStoASTM |
|
A105 |
A182F22 |
A182F304L |
A182F316L |
||
1 |
閥體 |
A105 |
A182F22 |
A182F304L |
A182F316L |
2 |
閥瓣 |
A276420 |
A276304 |
A276304L |
A276316L |
3 |
閥桿 |
A182F6 |
A182F304 |
A182F304L |
A182F316L |
波紋管 |
SS |
||||
4 |
墊片 |
316夾柔性石墨 |
316夾PTFE |
||
5 |
閥蓋 |
A105 |
A182F22 |
A182F304L |
A182F316L |
6 |
螺栓 |
A193B7 |
A193B16 |
A193B8 |
A193B8M |
7 |
填料 |
柔性石墨 |
PTFE |
||
8 |
填料壓套 |
A276420 |
A182F304 |
||
10 |
填料壓板 |
A216WCB |
A351CF8 |
||
12 |
閥桿螺母 |
A276420 |
|||
手輪 |
A197 |
||||
13 |
鎖緊螺母 |
A1942H |
A1944 |
A1948 |
A1948M |
銷釘 |
A276420 |
A182F304 |
|||
活節螺栓 |
A193B7 |
A193B16 |
A193B8 |
A193B8M |
|
螺母 |
A1942H |
A1944 |
A1948 |
A1948M |
|
墊圈 |
SS |
||||
14 |
銘牌 |
SS |
|||
適用介質 |
水、蒸汽、油品等 |
水、蒸汽、油品等 |
硝酸、醋酸等 |
||
適用溫度 |
—29℃~425℃ |
—29℃~550℃ |
—29℃~200℃ |
||
注意:客戶需求的其他材質也可采用.密封面材料配對客戶指定內件代號決定
CS=碳鋼;AS=合金鋼;SS=不銹鋼;
尺寸MM和重量KG
NPS |
縮徑 |
3/8" |
1/2" |
3/4" |
1" |
11/4" |
11/2" |
2" |
全徑 |
3/8" |
1/2" |
3/4" |
1" |
11/4" |
11/2" |
||
L1 |
79 |
79 |
92 |
111 |
120 |
120 |
140 |
|
L |
79 |
79 |
92 |
111 |
120 |
152 |
172 |
|
H開 |
220 |
220 |
225 |
244 |
321 |
321 |
347 |
|
W |
100 |
100 |
100 |
125 |
160 |
160 |
180 |
|
重量 |
螺栓式 |
3.2 |
3.0 |
4.8 |
7.9 |
11.0 |
16.8 |
25.2 |
焊接式 |
3.0 |
2.8 |
4.8 |
7.0 |
9.6 |
13.5 |
20.25 |
|




